|
 |
 |
产品介绍 |
|
|
|
|
|
|
|
 |
 |
联系我们 |
|
|
|
|
地址:上海曹杨路2270号
电话:021-52850962 52851219
传真:021-52852028
邮编:200333
联系人:王同康
Email:clos@sh-clos.com |
|
|
 |
 |
企业邮局 |
|
|
|
|
|
|
|
|
 |
|
|
 |
其他阀门系列 |
|
|
|
|
|
|
|
|
主要性能参数 |
名称 |
内容 |
公称通径 |
1/4"~1"(DN8~25) |
公称压力 |
300Lbs |
强度试验压力 |
7.5MPa |
排放压力 |
≤1.1倍整定压力 |
密封试验压力 |
0.9倍整定压力 |
允漏量 |
气压试验2分钟无泄漏。 |
适用温度 |
-40-105℃ |
适用介质 |
制冷剂、冷冻机油、水等。 |
执行标准 |
GBl2241~12243-89 |
|
|
|
|
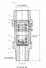
主要连接尺寸及性能参数 |
型号 |
压力级
Lbs |
公称通径
in(mm) |
喉径do
mm |
高度H
mm |
进口连接螺纹
in |
出口连接螺纹
in |
整定压力
Mpa |
额定排量
Lbs/min |
CSA-22C300T1 |
300 |
1/4” (8) |
7.5 |
82 |
1/4”—18NPT |
5/8"-18UNF |
1.03 |
5 |
CSA-22C300T1 |
300 |
3/8” (10) |
7.5 |
88 |
3/8”-18NPT |
5/8"-18UNF |
2.01-2.76 |
20.24-28.1 |
CSA-22C300T2 |
300 |
3/8” (10) |
7 |
88 |
3/8”-18NPT |
5/8"-18UNF |
2.4-3.2 |
21.3-28.3 |
CSA-22C300T1 |
300 |
1/2” (15) |
6.3 |
92 |
1/2”-14NPT |
7/8"-14UNF |
0.5 |
4.36 |
2.4-2.9 |
18.4-22 |
CSA-22C300T1 |
300 |
1/2” (15) |
7 |
85 |
R1/2 |
5/8"-18UNF |
2.07-3.13 |
18.5-27.6 |
|
|
可根据用户定货,提供其它压力级、通径的夹套截止阀。
阀体材料:1Cr18Ni9Ti?1Cr18Ni12Mo2Ti、CF3CF8、CF3M、CF8M等。
根据阀体材料,适用不同的酸类、碱类介质。 |
|
|
|
|
|