今天是:
进入克罗斯
|
产品介绍
|
公司资质
|
公司设备
|
工程业绩
|
访客留言
|
联系我们
|
企业邮局
|
返回首页
产品介绍
新品展示
电站安全阀系列
美标安全阀系列
通用安全阀系列
其他阀门系列
阀门备件
联系我们
地址:上海曹杨路2270号
电话:021-52850962 52851219
传真:021-52852028
邮编:200333
联系人:王同康
Email:clos@sh-clos.com
企业邮局
用户名:
密 码:
美标安全阀系列
<< 返回目录
■
冷冻机用安全阀|For freezing machine
◎
CSA-22C150T 1/2"-1"
◎
CSA-22C300T 1/2"-1"
材料 Nateruak
阀体 Body
H62/HPb59-1
阀瓣 Disc
H62+F4/HPb59-1+F4
适用介质 Medium avaliable
R22
适用介质 Medium avaliable
-40-+150 ℃
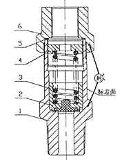
序号
零件名称
材料
1
阀体
H62
2
阀瓣组合件
H62+F-4
3
弹簧座
Icr 18 Ni 9 Ti
4
弹簧
50CrVA
5
调节螺母
H62
6
弹簧座
35 # 镀镍
7
垫片
T 3
8
螺母
H62
型号
CSA-22C150T
CSA-22C300T
压力级
150psi
300psi
公称通径
1/2”(15).1”925)
1/2”(15),3/4”(20),1”(25)
强度试验压力
3MPa
7.5Mpa
排放压力
≤ 1.1 倍整定压力
密封压力
≥ 0.85 倍整定压力
密封性
气压试验 2 分钟无泄漏
适用温度
-40-+150 ℃
适用介质
R 12 、 R 22 、 R 500 等氟利昂及冷冻机油
型号
压力级
psi
公称通径
in(mm)
喉径
do(mm)
高度
H(mm)
进口处
连接尺寸
in
出口处
连接尺寸
in
整定
压力
MPa
排放
压力
MPa
密封
压力
Mpa
额定
排量
Lbs/min
CSA-22C150T
150
1/2”(15)
9.5
95
1/2”(MPT)
3/4”(FPT)
1.28
≤ 1.41
≥ 1.09
22.5
CSA-22C150T1
150
1/2”(15)
11
115
1/2”(FPT)
1/2”(FPT)
1.28
≤ 1.41
≥ 1.09
23.8
CSA-22C150T2
150
1/2”(15)
11
95
1/2”(FPT)
1/2”(FPT)
1.28
≤ 1.41
≥ 1.09
29.5
CSA-22C150T
150
1”(25)
18
145
1”(MPT)
1/1/4”(FPT)
1.28
≤ 1.41
≥ 1.09
70.8
CSA-22C150T1
150
1”(25)
18
145
1”(MPT)
1/1/4”(FPT)
1.55
≤ 1.41
≥ 1.32
85.1
CSA-22C150T2
150
1”(25)
18
145
1”(MPT)
1/1/4”(FPT)
1.72
≤ 1.71
≥ 1.46
94
CSA-22C300T
300
1/2”(15)
6.5
92
1/2”(MPT)
7/8”(UNF)
2.66
≤ 1.89
≥ 2.26
20.3
CSA-22C300T1
300
1/2”(15)
6.8
48
1/1/8”(UNF)
2.80
≤ 2.93
≥ 2.38
20.5
CSA-22C300T
300
3/4”(20)
11
102
3/4”(MPT)
3/4”(FPT)
2.07
≤ 3.08
≥ 1.76
46.6
CSA-22C300T1
300
3/4”(20)
9.5
95
3/4”(MPT)
3/4”(FPT)
2.07
≤ 2.28
≥ 1.76
35.5
CSA-22C300T2
300
3/4”(20)
9.5
95
3/4”(MPT)
3/4”(FPT)
2.66
≤ 2.93
≥ 2.26
45.1
CSA-22C300T3
300
3/4”(20)
11
102
3/4”(MPT)
3/4”(FPT)
2.66
≤ 2.93
≥ 2.26
59.2
CSA-22C300T
300
1”(25)
18
145
1”(MPT)
1/1/4”(FPT)
2.07
≤ 2.28
≥ 1.76
111.8
CSA-22C300T1
300
1”(25)
18
145
1”(MPT)
1/1/4”(FPT)
1.97
≤ 2.17
≥ 1.67
106.5
CSA-22C300T2
300
1”(25)
13
105
1”(MPT)
1”(FPT)
2.07
≤ 2.28
≥ 1.76
63.8
版权所有©上海克罗斯阀门有限公司
ENGLISH
|
返回引导页